Horizon Mold Chain Co., Ltd
Horizon Mold Chain Co., Ltd
Inicio> Noticias del sector> La resistencia y el diseño del molde de la posición de la tubería de la superficie de separación

La resistencia y el diseño del molde de la posición de la tubería de la superficie de separación

2025,06,14
Car headlights3Car headlights4
La resistencia y el diseño del molde de la posición de la tubería de la superficie de separación
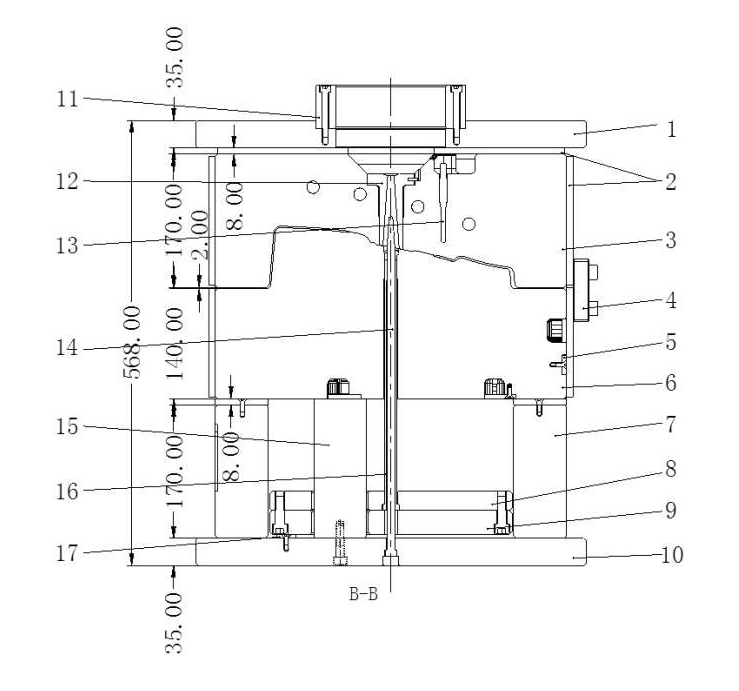
La posición del tubo superficial de separación de este molde está diseñada en el molde fijo. Adopta un formulario de diseño que combina cuatro paradas de esquina con cuatro bridas laterales. Este posicionamiento es confiable y garantiza una buena resistencia al moho. En el diseño de moldes automotrices, el ángulo en el punto de inserción del molde fijo debe diseñarse para ser superior a 7 grados. Si no es posible, debe diseñarse para ser superior a 5 grados. Esto se debe a que un gran ángulo de inserción aumentará significativamente la vida útil del moho y reducirá en gran medida el fenómeno de las rebabas en el punto de inserción del molde. Para las posiciones con un ángulo de inserción por debajo de 3 grados, es difícil garantizar una posición precisa del molde fijo con posicionamiento fino de 1 grado o 0 grados. Por lo tanto, el ángulo de inserción debe ser lo más grande posible. Para moldes de tamaño mediano y grande, generalmente está diseñado para ser superior a 7 grados para garantizar la vida útil del molde.
Las dimensiones principales que afectan la resistencia y la rigidez del molde incluyen:
Las dimensiones A1, A2, B1 y B2 desde el borde de la cavidad hasta el borde del molde;
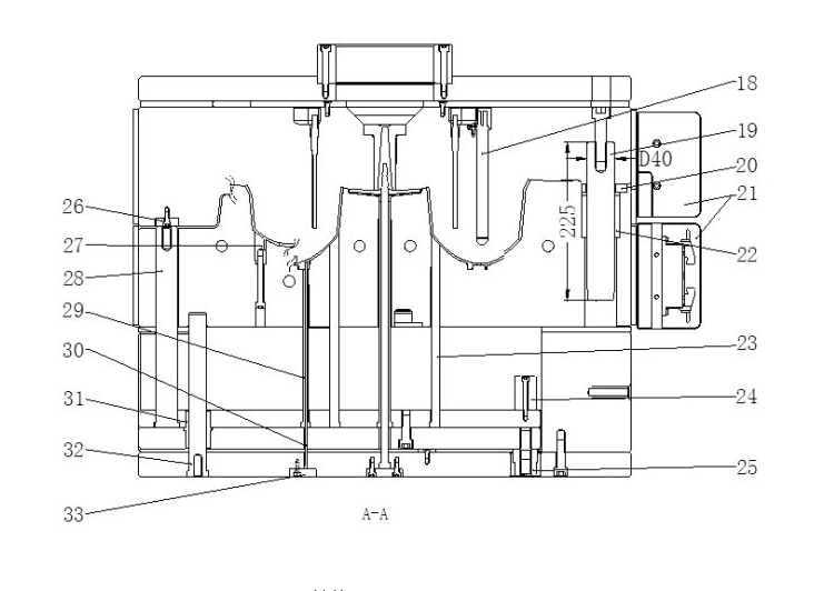
2) Las distancias C1 y C2, que son las distancias verticales de la parte más profunda de la cavidad a las superficies inferiores de la plantilla fija y la plantilla móvil, se muestran en la Figura 10.
En el diseño de moldes automotrices, los métodos de determinación empírica para las dimensiones A y B son:
1) Si no hay un mecanismo lateral del núcleo, agregue una dimensión de sellado de 30 a 50 mm desde el borde más externo de la cavidad (para moldes pequeños dentro de 5050, agregue 30 mm; para moldes medianos dentro de 5050 a 1010, agregue 40 mm; para moldes grandes por encima de 1010, agregue 50 mm) y luego agregue un espacio de aclaramiento de 50 a 70 mm para reducir la carga de trabajo de un ensamblaje de moldes. El espacio de espacio libre también es un área que garantiza la resistencia del molde. Luego, agregue el tamaño de la placa de presión de la superficie de separación del marco del molde, que es el tamaño de A y B.
2) Si hay un mecanismo lateral de extracción de núcleo, las dimensiones A y B deben aumentarse de acuerdo con el tamaño de la distancia del núcleo. En principio, es necesario asegurarse de que el control deslizante permanezca dentro de la plantilla después de completar la operación de extracción de núcleo.
El valor de la dimensión C para moldes de partes de plástico de diferentes tamaños y estructuras variará. La dimensión C debe garantizar que haya un grosor de acero de más de 80 mm desde la parte más profunda de la cavidad hasta la superficie inferior de la plantilla. En la plantilla de mudanza, dado que hay un espacio vacío entre las dos piezas de hierro cuadrados, son propensos a la deformación después de soportar la presión de inyección. Por lo tanto, C1 debe aumentarse en grosor en consecuencia. En general, se considera más de 100 mm.
Dado que este molde tiene dos mitades, las dos cavidades son simétricas en ambos lados. A1 = A2 = 115.6 mm, y la distancia entre la cavidad del espejo reflejando izquierda y la cavidad del espejo reflejando a la derecha es de 73 mm. Dado que el molde no tiene un mecanismo lateral de empuje de núcleo, B1 = 123.1 mm y B2 = 110 mm. En términos de dimensiones de espesor, C1 = 103 mm y C2 = 80 mm. La placa B parece ser relativamente delgada y debe diseñarse alrededor de 100 mm.
Contal Us

Autor:

Mr. horizonmoldchain

Correo electrónico:

lizifei01@126.com

Phone/WhatsApp:

+86 18575351728

productos populares
También te puede gustar
Categorías relacionadas

Contactar proveedor

Asunto:
Móvil:
Email:
Mensaje:

Su mensaje debe ser de entre 20 a 8,000 caracteres.

We will contact you immediately

Fill in more information so that we can get in touch with you faster

Privacy statement: Your privacy is very important to Us. Our company promises not to disclose your personal information to any external company with out your explicit permission.

Enviar